Дата завершения срока действия 01.01.1991
Переиздание (июнь 1980 г.) с изменениями № 1, 2, утвержденными в декабре 1976 феврале 1980 г. (ИУС 2—1977, 4—1980).
Утвержден постановлением Государственного комитета стандартов Совета Министров СССР от 20 сентября 1974 г. № 2204. Срок введения установлен с 01.01 1976 г. Проверен в 1980 г. Срок действия продлен до 01.01 1986 г. Несоблюдение стандарта преследуется по закону Настоящий стандарт распространяется на пневматические ручные краскораспылители с внешним смешением лакокрасочного материала и воздуха, предназначенные для нанесения лакокрасочных материалов с условной вязкостью не более 50 с по вискозиметру ВЗ-4 ГОСТ 9070—75 при температуре 18—23°С на изделия различных отраслей машиностроения. Стандарт не распространяется на пневматические краскораспылители специального назначения. Условия эксплуатации краскораспылителей — по ГОСТ 15150—69, исполнение У, категория 4. Рабочее давление сжатого воздуха, подаваемого в краскораспылитель, не должно быть более 0,6 МПа (6 кгс/см2) , 1.
ТИПЫ, ОСНОВНЫЕ ПАРАМЕТРЫ И РАЗМЕРЫ
1.1. Краскораспылители в зависимости от способа подачи лакокрасочного материала к распылительной головке должны изготовляться трех типов: 1 — с подачей лакокрасочного материала из верхнего наливного стакана;
2 — с подачей лакокрасочного материала из нижнего наливного стакана;
3 — с подачей лакокрасочного материала нагнетанием. Допускается изготовление универсальных пневматических краскораспылителей, обеспечивающих работу краскораспылителя по типам 1, 2 и 3. 1.2. Основные параметры и размеры ручных пневматических краскораспылителей должны соответствовать указанным в таблице.
|
Тип краско- распылителя |
Диаметр отверстия материального сопла. мм |
Расход лакокрасочного материала, г/мнн. не менее |
Расход воздуха, м3/ч. не более |
Размеры отпечатка факела, мм | Присоединительный размер детали для подвода воздуха и лакокрасочного материала в краскораспылитель |
Масса.
кг, не более |
||||
|
Диаметр круглого отпечатка, не более |
Ширина плоского отпечатка, не менее | Присоедини-тельный размер для крепления наливного стакана, мм | Присоедини-тельный размер для крепления штуцера. мм |
Без наливного стакана |
С наливным стаканом | |||||
| 1 | 1,0 | 70 | 18 | 50 | 160 | М12Х1.5 | Ml 4X1.5 | 0,40 | 0.5 | |
| 1,2 | 100 | 60 | 190 | |||||||
| 1,4 | 150 | 70 | 220 | |||||||
| 1, 2, 3 | 1,6 | 200 | 27 | 80 | 260 | М16Х1.5 | М14X1,5 | 0,80 | 1.0 | |
| 1,8 | 260 | 90 | 290 | |||||||
| 2,0 | 350 | 100 | 320 | |||||||
| 3 | 2,2 | 450 | 36 | 110 | 350 | — | М16Х1.5 | 0,80 | - | |
| 2,5 | 600 | 125 | 400 | |||||||
| 2,8 | 800 | 140 | 450 | |||||||
2 ТЕХНИЧЕСКИЕ ТРЕБОВАНИЯ
2.1. Краскораспылители должны удовлетворять требованиям настоящего стандарта и требованиям, изложенным в технических условиях на краскораспылитель конкретного типа.
(Измененная редакция, Изм. № 2).
2.2. Конструкция краскораспылителей должна обеспечивать: плавную регулировку расхода воздуха, поступающего
в каналы формирования формы факела и степени открывания отверстия материального сопла с помощью запорной иглы; фиксацию положения запорной иглы.
2.3. Конструкция распылительной головки должна обеспечивать равномерное распыление лакокрасочного материала
по не размытой площади отпечатка факела и получение окрашенной поверхности всех классов покрытий по ГОСТ 9.032—74.
2.4. Потери распыляемого материала на туманообразование, определяемые при распылении эталонной жидкости, не должны превышать величины q в процентах, определенной из черт. 1.
Черт. 1. Зависимость допустимых потерь q
от производительности краскораспылителя Q

(Измененная редакция, Изм. № 2).
2.5. (Исключен, Изм. № 2).
2.6. Воздушная головка и материальное сопло должны изготавливаться из коррозионностойких и износостойких материалов или иметь коррозионностойкое и износостойкое покрытие.
Твердость материалов — не менее НВ 2,5/62,5/30—90 по ГОСТ 9012-59.
2.7. Несоосность наружной поверхности носика сопла и внутренней поверхности отверстия головки должна быть не более 0,05 мм.
(Измененная редакция, Изм. № 2).
2.8. (Исключен, Изм. № 2).
2.9. Для краскораспылителей типов 1 и 2 материальное сопло должно выступать из головки на 0,1—0,6 мм; дли типа 3 должно быть утоплено на 0,1—0,2 мм.
(Измененная редакция, Изм. № 1).
2.10. На кромках и поверхностях распылительной головки не допускается наличие заусенцев, забоин, вздутий.
2.11. Штуцерные соединения, уплотнения и соединения деталей краскораспылителя должны обеспечивать прочность и герметичность при давлении, равном 1,25 рабочего давления воздуха и распыляемого материала.
Величина рабочего давления устанавливается в технических условиях на краскораспылитель конкретного типа.
2.12. Факел распыленного лакокрасочного материала должен иметь геометрическую форму конической поверхности с основанием в виде круга или эллипса.
2.11, 2.12. (Измененная редакция, Изм. № 2).
2.13. Ресурс краскораспылителей до списания должен быть не менее 1500 ч.
(Измененная редакция, Изм. № 1).
3. КОМПЛЕКТНОСТЬ
3.1. В комплект краскораспылителя должны входить: сменные и запасные части, инструмент и принадлежности согласно ведомости ЗИП предприятия-изготовителя.
3.2. К комплекту краскораспылителя должна быть приложена эксплуатационная документация по ГОСТ 2.601-68.
4. ПРАВИЛА ПРИЕМКИ
4.1. Для проверки соответствия краскораспылителей требованиям настоящего стандарта предприятие-изготовитель должно проводить приемо-сдаточные, периодические и типовые испытания.
4.2. Приемо-сдаточным испытаниям должны подвергать каждый краскораспылитель.
4.3. При приемо-сдаточных испытаниях должны проверять соответствие краскораспылителей требованиям пп. 2.11, 2.12 и проводить внешний осмотр их.
4.4. Периодические испытания краскораспылителей должны проводить не реже одного раза в год.
При периодических испытаниях должны проверять соответствие краскораспылителей требованиям пп. 1.2, 2.3, 2.4, 2.5, 2.10, 2.13 и проводить внешний осмотр их.
4.5. Количество краскораспылителей, подвергаемых периодическим и типовым испытаниям, устанавливается в технических условиях на краскораспылитель конкретного типа.
(Измененная редакция, Изм. № 2).
4.6. (Исключен, Изм. № 2).
5. МЕТОДЫ ИСПЫТАНИЙ
5.1. Проверку на герметичность штуцерных соединений, уплотнений и соединений деталей полости лакокрасочных каналов (п. 2.11) следует производить при подаче в лакокрасочные каналы собранного краскораспылителя 8%-ного водного раствора нитрита натрия по ГОСТ 19906-74 под постоянным давлением в течение времени, необходимого для осмотра, но не менее 1 мин. Пропуск раствора через материал корпуса, штуцерные соединения, сальниковые устройства и резьбовые соединения не допускается.
5.2. Проверку на герметичность штуцерных соединений, уплотнений и соединений деталей полости воздушных каналов (п. 2.11) следует производить при подаче сжатого воздуха через штуцер внутрь собранного краскораспылителя при постоянном давлении в течение времени, необходимого для осмотра, но не менее 1 мин, путем погружения краскораспылителя в ванну с 8%-ным водным раствором нитрита натрия по ГОСТ 19906-74. При испытании дб-нускается просачивание воздуха в виде отдельных пузырьков без видимого кипения.
5.1, 5.2. (Измененная редакция, Изм. № 1, 2).
5.3. Проверку качества факела (п. 2.12) следует проводить визуально, распыляя 8%-ный раствор нитрита натрия при рабочем давлении. Факел должен быть равномерным, без видимых струй и сгущений.
5.4. Расход воздуха (п. 1.2) следует измерять с помощью показывающего ротаметра по ГОСТ 13045-67, подключаемого в линию подачи воздуха в краскораспылитель при его рабочем давлении.
5.3, 5.4. (Измененная редакция, Изм. № 2).
5.5. Измерение расхода лакокрасочного материала краскораспылителями (п. 1.2) типов 1 и 2 следует производить взвешиванием краскораспылителя с верхним или нижним наливным стаканом, заполненным лакокрасочным материалом, до и после распыления. При определении расхода краски краскораспылителя типа 3 краскораспылитель взвешивают вместе с красконагнетательным баком и шлангом.
Время распыления — 1 мин. Для распыления следует использовать эмаль на пентафталевой основе, разведенную до условной вязкости 20—25 с по ВЗ-4 ГОСТ 9070-75 при температуре 18— 23°С, и сжатый воздух по ГОСТ 9.010-80 при рабочем давлении. Взвешивание следует производить на весах с погрешностью не более 1 г. Схема стенда для испытаний краскораспылителей дана в справочном приложении.
(Измененная редакция, Изм. № 1, 2).
5.6. Проверку качества распыления лакокрасочного материала и равномерности распределения его по отпечатку факела (п. 2.3) следует производить при распылении лакокрасочного материала, приготовленного согласно п. 5.5, сжатым воздухом при рабочем давлении из краскораспылителя, закрепленного на расстоянии 300 мм от подложки, при расходе лакокрасочного материала краскораспылителя в соответствии с п. 1.2.
Отпечаток факела снимается на подложку — алюминиевую фольгу толщиной 50 мкм по ГОСТ 618-73 или бумагу по ГОСТ 8273—75. Качество распыления определяется по отпечатку факела, снятому в течение времени, необходимого для получения толщины слоя краски 15—20 мкм.
Отпечатки должны иметь четкую геометрическую форму эллипса или круга. Размеры отпечатка (п. 1.2) следует снимать с неразмытого участка.
5.7. Определение потерь распыляемого материала на тумано-образование (п. 2.4) следует производить взвешиванием краскораспылителя с верхним или нижним наливным стаканом (красконагнетательным баком) и экрана-лотка, на который наносится распыляемый материал — водный раствор глицерина по ГОСТ 6824—76 до и после распыления. При определении потерь распыляемый материал разводится до условной вязкости 20—25 с по ВЗ-4 ГОСТ 9070-75, краскораспылитель устанавливается на расстоянии 300 мм от экрана-лотка с размерами 500 X 500 мм и настраивается на размер .круглого отпечатка факела и на расход лакокрасочного материала в соответствии с п. 1.2 при рабочем давлении сжатого воздуха на распыление.
Потери распыляемого материала на туманообразование q в % определяется по формуле

где Q — масса краскораспылителя со стаканом (баком) до распыления, кг;
Qi — масса краскораспылителя со стаканом (баком) после распыления, кг;
Q2 — масса распыленного материала на лотке, кг.
5.6, 5.7. (Измененная редакция, Изм. № 2).
5.8. Проверку краскораспылителя на соответствие п. 2.13 следует проводить на стенде, обеспечивающем последовательное включение и выключение краскораспылителя с частотой не менее 15 в минуту при подаче в него лакокрасочного материала, приготовленного согласно п. 5.5, и максимальном рабочем давлении сжатого воздуха на распыление.
6. МАРКИРОВКА, УПАКОВКА, ТРАНСПОРТИРОВАНИЕ И ХРАНЕНИЕ
6.1. Каждый краскораспылитель должен иметь на видном месте маркировку следующего содержания:
наименование или товарный знак предприятия-изготовителя;
индекс (марка) краскораспылителя;
год и месяц выпуска;
обозначение настоящего стандарта.
6.2. Консервация краскораспылителей — по ГОСТ 9.014-78. Срок действия консервации — 1 год.
6.3. Краскораспылители должны быть упакованы в картонные коробки типа 1 по ГОСТ 12301-72 или пачки типа I по ГОСТ 12303—72. Коробки или пачки должны быть упакованы в ящики типа I1-I по ГОСТ 15623-79.
(Измененная редакция, Иэм. № 1).
6.4. Условия хранения краскораспылителей — по ГОСТ 15150—69, группа С.
6.5. Каждый ящик или контейнер с краскораспылителями должен сопровождаться документом, удостоверяющим соответствие краскораспылителей требованиям настоящего стандарта и содержащим:
наименование предприятия-изготовителя и его местонахождение (город или условный адрес);
индекс (марку) краскораспылителя;
цену;
дату упаковки;
обозначение настоящего стандарта.
(Измененная редакция, Изм. № I).
6.6. Транспортирование краскораспылителей в упакованном виде—любыми транспортными средствами.
7. ГАРАНТИИ ИЗГОТОВИТЕЛЯ
7.1. Предприятие-изготовитель должно гарантировать соответствие краскораспылителей требованиям настоящего стандарта при соблюдении потребителем условий эксплуатации, установленных эксплуатационной документацией по ГОСТ 2.601-68.
7.2. Гарантийный срок устанавливается 12 мес со дня ввода их в эксплуатацию.
8. ТРЕБОВАНИЯ БЕЗОПАСНОСТИ
8.1. При испытании и работе с краскораспылителем должны соблюдаться требования ГОСТ 12.3.005-75.
(Измененная редакция, Изм. № 2).
8.2. В конструкции краскораспылителя должен быть предусмотрен зажим для закрепления заземляющего провода.
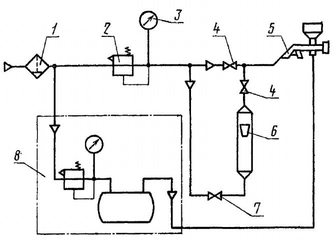
ПРИЛОЖЕНИЕ
Справочное
Схема стенда для испытаний краскораспылителей

1—фильтр-влагоотделитель; 2—регулятор давления; 3—манометр;
4—проходной кран; 5—краскораспылитель; 6—ротаметр; 7—проходной вентиль; 8—красконагнетательный бак.
Примечание. Длина шлангов между манометрами н краскораспылителем не должна превышать 1 м.
(Измененная редакция, Изм. № 2).
Редактор Л. В. Цыганкова Технический редактор Ф. И. Шрайбштейн Корректор Э. В. Митяй
Сдано в наб. 16.09.80 Подп. в печ. 01.04.81 0.76 п. л. 0.57 уч.-изд. л. Тир. 6000 Цена 3 коп.
Ордена «Знак Почета» Издательство стачдартов. Москва. Д-567, Новопресненский пер., д. 3. Вильнюсская типография Издательства стандартов, ул. Миндауго, 12/14. Зак. 4831